DEPOSE/REPOSE DE CONTACTEUR DE COMMANDE DE NAVIGATION DU VEHICULE


BHE092066921W01

1. Débrancher le cable négatif de la batterie.

2. Déposer la console de changement. (voir la section DEPOSE/REPOSE DE CONSOLE.)

3. Déposer les différents composants selon l'ordre indiqué dans le tableau.

1
Contacteur de commande de navigation du véhicule
2
Connecteur

4. Pour la repose, suivre l'ordre inverse de la dépose.

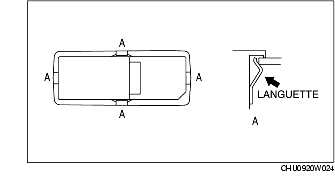
Note sur la dépose de contacteur de commande de navigation du véhicule

1. Déposer le contacteur de commande de navigation du véhicule en pressant les languettes A, comme indiqué dans l'illustration.