DEPOSE/REPOSE D'ANCRAGE DE SIEGE POUR ENFANT


BHE081100117W01

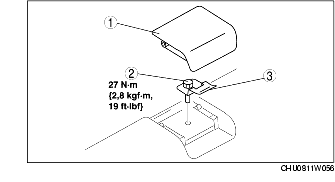
1. Déposer les différents composants selon l'ordre indiqué dans le tableau.

1
Cache
2
Boulon
3
Ancrage de siège pour enfant

2. Pour la repose, suivre l'ordre inverse de la dépose.